Logo Tom's Hardware
  • Hardware
  • Videogiochi
  • Mobile
  • Elettronica
  • EV
  • Scienze
  • B2B
  • Quiz
  • Tom's Hardware Logo
  • Hardware
  • Videogiochi
  • Mobile
  • Elettronica
  • EV
  • Scienze
  • B2B
  • Quiz
  • Forum
  • Sconti & Coupon
Offerte & Coupon
Accedi a Xenforo
Immagine di OnePlus Pad 2, il tablet premium che su AliExpress conviene più di tutti OnePlus Pad 2, il tablet premium che su AliExpress conviene ...
Immagine di A 32€ ti aspetti auricolari scarsi. Questi Huawei no A 32€ ti aspetti auricolari scarsi. Questi Huawei no...

Che fine ha fatto iPhone Flip?

Fra brevetti, rapporti e voci di corridoio, scopriamo assieme che fine ha fatto il, tanto chiacchierato, device foldable targato Apple

Advertisement

Avatar di Andrea Maiellano

a cura di Andrea Maiellano

Author @Tom's Hardware Italia

Pubblicato il 02/10/2023 alle 18:00
Quando acquisti tramite i link sul nostro sito, potremmo guadagnare una commissione di affiliazione. Scopri di più

iPhone Flip (nome non ufficiale usato dalla community per chiamare il primo foldable di Cupertino) è stato il protagonista indiscusso delle voci di corridoio a tema Apple, per un sacco di anni.    

Mentre numerosi competitor provano da anni a spodestare Samsung dal trono dei foldable, dando vita a una delle competizioni più agguerrite nel campo della telefonia mobile, Apple sembra ignorare questo settore, almeno in apparenza, concentrandosi sul costante rinnovo della linea iPhone, come ampiamente dimostrato con il recente lancio della linea iPhone 15.

Dov’è Apple?

In un settore dove device quali il Samsung Galaxy Z Flip5, il Galaxy Z Fold5, il Google Pixel Fold, il Motorola razr 40 Ultra e il prossimo OnePlus Open, si spintonano per convincere l’utenza sulla beltà del possedere uno smartphone, di fascia alta, che all’evenienza possa diventare compatto, o espandersi nelle dimensioni fino a raggiungere quelle di un tablet di piccole dimensioni, Apple sembra ignorare totalmente questo trend, continuando a concentrarsi sul proporre “l’iPhone migliore di sempre” con una metodicità, e una puntualità, quasi tediosa. I numeri ogni anno danno ragione all’azienda di Cupertino ma il settore dei foldable è realmente ignorato da Apple?

In realtà no e, anzi, sono tutti sicuri che Apple entrerà nel settore dei foldable prima o poi. Come tutti oramai saprete già, l’azienda di Cupertino non ha mai voluto anticipare i tempi, presentando i propri prodotti, e le novità ad essi associate, solo ed esclusivamente quando vengono considerate pronti, stabili ed effettivamente in grado di stravolgere l’uso comune ad essi associato. 

Lo abbiamo visto nel corso degli anni, con l’iPod, con l’iPad, con l’iPhone e con il recente Apple Vision Pro. Ovviamente senza scomodare momenti storici dell’informatica di consumo quali la rimozione del floppy disk e la rimozione del lettore ottico dai computer targati Apple.

Non sorprende, quindi, che un eventuale iPhone Foldable, che si sa da tempo essere in progettazione, non vedrà la luce fino a che Apple non troverà la sua “chiave di lettura” per presentarlo, e venderlo, come un dispositivo capace di rivoluzionare quell’utilizzo che gli utenti hanno sempre associato agli smartphone pieghevoli.

Immagine id 174

Cosa sappiamo dell’iPhone Flip?

Nel mentre che l’ipotetica data di uscita dell’iPhone Flip (perdonateci ma utilizzeremo questo nome per mera praticità) continua a slittare nelle voci di corridoio, le più recenti lo vogliono in uscita nel 2024 mentre quelle più fantasiose prevedono un lancio in concomitanza del ventennale del primo iPhone, abbiamo voluto raccogliere tutte le voci di corridoio, e i concept, reperibili su web, scremando quelli più fantasiosi e concentrandoci su quelli più interessanti per comprendere, almeno parzialmente, su cosa stia lavorando Apple dietro le quinte.

Un display dalle mille dimensioni

Volendo scoprire qualcosa di più in merito al display di iPhone Flip, dobbiamo affidarci ai numerosi rapporti stilati dal celebre analista Ming-Chi Kuo (che per chi non lo sapesse è uno degli insider più affidabili quando si parla di Apple), nei quali vengono citati schermi di dimensioni differenti. 

Nel primo di questi, l’analista, cita uno schermo da 8 pollici, vertiginosamente vicino agli 8,3 pollici dell’attuale iPad Mini. Questo dettaglio ha scatenato, nuovamente, quelle voci di corridoio che vogliono Apple in procinto di sperimentare uno schermo pieghevole inizialmente sulla gamma iPad, proprio con un ipotetico iPad Mini pieghevole.

Un secondo rapporto, invece, afferma che Apple stia collaborando con LG per realizzare un pannello OLED pieghevole da 7,5 pollici, mentre un terzo documento di Ming-Chi Kuo, afferma che Apple stia anche testando uno schermo da 9 pollici per un dispositivo pieghevole.

Ovviamente, la presenza di numerosi rapporti indica che Apple sta sperimentando differenti alternative per il suo primo dispositivo foldable, così come, affacciandosi nel regno delle supposizoni, queste differenze di diagonale potrebbero indicare che Apple abbia intenzione di realizzare una linea di foldable (con un iPhone e un iPad) con dimensioni, e casi d’uso, differenti. 

USPTO
Immagine id 159
Crediti: USPTO

Per quanto riguarda lo schermo esterno del device Ming-Chi Kuo si è limitato nell’affermare che Apple stia sperimentando l'uso di display a inchiostro elettronico a colori. Questo tipo di schermo, pur non essendo reattivo quanto un pannello LCD o OLED, permetterebbe di mantenere basso il consumo di batteria, oltre che definire quale sia l’uso di questo device concepito da Apple. L’azienda, difatti, sta considerando di non intraprendere la strada del dual-screen ma di concentrare l’esperienza d’uso dell’iPhone Flip, proprio sullo schermo pieghevole. 

Molto interessante, infine, un brevetto registrato da Apple nel corso degli ultimi anni, il quale suggerisce che l'iPhone Flip possa essere dotato di un sistema di autodifesa nel caso venisse fatto cadere. L'idea alla base del brevetto è che la cerniera dell'iPhone inizierebbe a chiudersi mentre il telefono sta cadendo, andando a bilanciare il dispositivo ed evitando che lo schermo tocchi il suolo e si danneggi.

Design dell'iPhone Flip

Per quanto riguarda il design dell’iPhone Flip facciamo riferimento a Jon Prosser, il creatore di Front Page Tech, il quale sostiene che Apple abbia testato due diversi design per il suo device pieghevole: uno similare a un tablet ibrido pieghevole a libro e un design a conchiglia simile agli iconici Flip Phone.

Al momento, pare che Apple sia più orientata verso un design “clamshell”, proprio in virtù del non voler snaturare la natura da smartphone del device ma, nuovamente, fonti meno attendibili puntano in direzioni di una linea di foldable comprendente uno smartphone e un tablet.

Alcuni brevetti, inoltre, rivelano alcuni esperimenti che Apple ha preso in considerazione per il suo dispositivo pieghevole. Nel 2020, infatti, è stato depositato un brevetto che descrive una "modalità di funzionamento congiunta”, la quale consentirebbe a un dispositivo a schermo singolo di essere integrato da uno schermo secondario collegato magneticamente. 

USPTO
Immagine id 161
Crediti: USPTO

In teoria, questa modalità d’uso consentirebbe a dispositivi indipendenti di unirsi per costituire uno spazio condiviso, dando vita a un concept più simile alla linea Microsoft Surface Duo che a un vero e proprio device foldable.

Evitando di analizzare nel dettaglio i brevetti più vecchi, risalenti al 2016 e al 2018, l’unico elemento interessante è quello che raffigura un dispositivo con uno schermo flessibile che si piega lasciando una piccola striscia esposta nella sua parte inferiore, permettendo di visualizzare notifiche e informazioni utili. 

Un dettaglio apparentemente di poco conto ma che potrebbe rivelare, nuovamente, la volontà di Apple di orientarsi verso un “clamshell” dotato di uno schermo esterno “meno invasivo e performante, concentrando l’uso del device nel suo schermo pieghevole. 

Infine, un paio di brevetti registrati da Apple, riguardano display pieghevoli resistenti ai graffi e agli urti, oltre a uno schermo pieghevole con aree flessibili testurizzate.

Resistenza dell'iPhone Flip

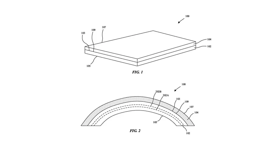
Proprio in merito alla resistenza dell’ipotetico foldable targato Apple, un brevetto dell'ottobre 2020 suggeriva che l'iPhone Flip potrebbe essere dotato di una versione migliorata del Ceramic Shield presente su iPhone.

Questa variante, sarebbe progettata specificamente per uno schermo flessibile e sarebbe composta da quattro strati: uno di copertura, uno di protezione, una superficie interna e uno strato di supporto trasparente. Questo strato di supporto sarebbe realizzato realizzato in vetro, o in zaffiro, per garantire una resistenza aggiuntiva.

A febbraio 2020, invece, è emerso un brevetto di Apple che, teoricamente, consentirebbe allo schermo pieghevole di piegarsi a metà senza creare stress eccessivo sul pannello. All'interno della cerniera, lo schermo si incurverebbe in una specifica maniera per creare una curva graduale e non una piega rigida. Un tale design contribuirebbe alla durabilità dello schermo, prolungandone la vita. 

Infine, un serie di brevetti depositati nel corso degli scorsi anni, mostrano il costante impegno di Apple nel cercare soluzioni efficaci per realizzare uno schermo pieghevole resistente alle crepe. 

USPTO
Immagine id 160
Crediti: USPTO

Tirando le somme

Evitando di compiere voli pindarici in merito al prezzo di vendita del foldable targato Apple, o riguardo alla remota eventualità che si tratti di uno smartphone con schermo arrotolabile, quello che possiamo confermare è che Apple è, effettivamente, al lavoro su un device foldable da, oramai, sette anni. 

Tuttavia, finché Apple non ne confermerà l’esistenza attraverso una presentazione ufficiale, l'esistenza del fantomatico iPhone Flip resta confinata ai brevetti depositati dall’azienda di Cupertino e ai rapporti stilati dagli analisti. 

La scommessa più grossa per l’azienda sarà quella di rivoluzionare la concezione di questa tipologia di device, rendendola “ammaliante per le masse” e riuscendo a inserirsi in un settore già ampiamente coperto da molti competitor, con risultati più, o meno, importanti. 

Ricordiamoci che Apple, al netto del suo essere diventata uno “status symbol” nel corso degli ultimi due decenni, non è infallibile e il suo primo device foldable non può rivelarsi un prodotto problematico (come gli iPad di 3a generazione), accolto tiepidamente poiché troppo di nicchia (come Homepod e Airpod Max) o rischiare di diventare come il celebre Airpower, ovvero un prodotto annunciato ma mai rilasciato a causa di problematiche progettuali. 

Proprio per questo motivo siamo sicuri che un eventuale iPhone Flip (o come si chiamerà nella sua forma definitiva) vedrà la luce solo ed esclusivamente quando avrà realmente qualcosa da dire in questo mercato in costante evoluzione.

Le notizie più lette

#1
La Francia dirà addio a Microsoft Teams
5

Business

La Francia dirà addio a Microsoft Teams

#2
AMD registra una CPU dual-CCD con 3D V-Cache
2

Hardware

AMD registra una CPU dual-CCD con 3D V-Cache

#3
Maia 200, l'acceleratore Microsoft a 3nm è realtà

Business

Maia 200, l'acceleratore Microsoft a 3nm è realtà

#4
Recensione Code Vein 2, meravigliosamente imperfetto

Recensione

Recensione Code Vein 2, meravigliosamente imperfetto

#5
Modem vecchio? Windows 11 lo blocca, per una buona ragione
4

Hardware

Modem vecchio? Windows 11 lo blocca, per una buona ragione

👋 Partecipa alla discussione!

0 Commenti

⚠️ Stai commentando come Ospite . Vuoi accedere?

Invia

Per commentare come utente ospite, clicca cerchi

Cliccati: 0 /

Reset

Questa funzionalità è attualmente in beta, se trovi qualche errore segnalacelo.

Segui questa discussione

Advertisement

Ti potrebbe interessare anche

A 32€ ti aspetti auricolari scarsi. Questi Huawei no

Offerte e Sconti

A 32€ ti aspetti auricolari scarsi. Questi Huawei no

Di Dario De Vita
OnePlus Pad 2, il tablet premium che su AliExpress conviene più di tutti

Offerte e Sconti

OnePlus Pad 2, il tablet premium che su AliExpress conviene più di tutti

Di Dario De Vita
Samsung accelera, spunta l’Exynos dei Galaxy S27

Smartphone

Samsung accelera, spunta l’Exynos dei Galaxy S27

Di Antonello Buzzi
eSim, nel 2030 si sfioreranno i 5 miliardi di connessioni

Smartphone

eSim, nel 2030 si sfioreranno i 5 miliardi di connessioni

Di Antonello Buzzi
Meta sperimenta piani premium su Instagram, Facebook e WhatsApp

Smartphone

Meta sperimenta piani premium su Instagram, Facebook e WhatsApp

Di Antonello Buzzi

Advertisement

Advertisement

Footer
Tom's Hardware Logo

 
Contatti
  • Contattaci
  • Feed RSS
Legale
  • Chi siamo
  • Privacy
  • Cookie
  • Affiliazione Commerciale
Altri link
  • Forum
Il Network 3Labs Network Logo
  • Tom's Hardware
  • SpazioGames
  • CulturaPop
  • Data4Biz
  • TechRadar
  • SosHomeGarden
  • Aibay

Tom's Hardware - Testata giornalistica associata all'USPI Unione Stampa Periodica Italiana, registrata presso il Tribunale di Milano, nr. 285 del 9/9/2013 - Direttore: Andrea Ferrario

3LABS S.R.L. • Via Pietro Paleocapa 1 - Milano (MI) 20121
CF/P.IVA: 04146420965 - REA: MI - 1729249 - Capitale Sociale: 10.000 euro

© 2026 3Labs Srl. Tutti i diritti riservati.