Logo Tom's Hardware
  • Hardware
  • Videogiochi
  • Mobile
  • Elettronica
  • EV
  • Scienze
  • B2B
  • Quiz
  • Tom's Hardware Logo
  • Hardware
  • Videogiochi
  • Mobile
  • Elettronica
  • EV
  • Scienze
  • B2B
  • Quiz
  • Forum
  • Sconti & Coupon
Sconti & Coupon

Novità!

Prova la nuova modalità di navigazione con le storie!

Accedi a Xenforo
Immagine di Black Friday 2025: tutte le offerte Honor da non perdere Black Friday 2025: tutte le offerte Honor da non perdere...
Immagine di Huawei MatePad 12X Papermatte Edition è un tablet incredibile | Recensione Huawei MatePad 12X Papermatte Edition è un tablet incredibi...

Dopo Pura 70 Huawei si prepara per PuraOS, Pura Pad e Pura Watch

L'espansione del marchio della serie Pura di Huawei oltre gli smartphone: registrati i marchi di Pura OS e una varietà di altre offerte.

Advertisement

Quando acquisti tramite i link sul nostro sito, potremmo guadagnare una commissione di affiliazione. Scopri di più
Avatar di Luca Zaninello

a cura di Luca Zaninello

Managing Editor

Pubblicato il 10/05/2024 alle 09:56

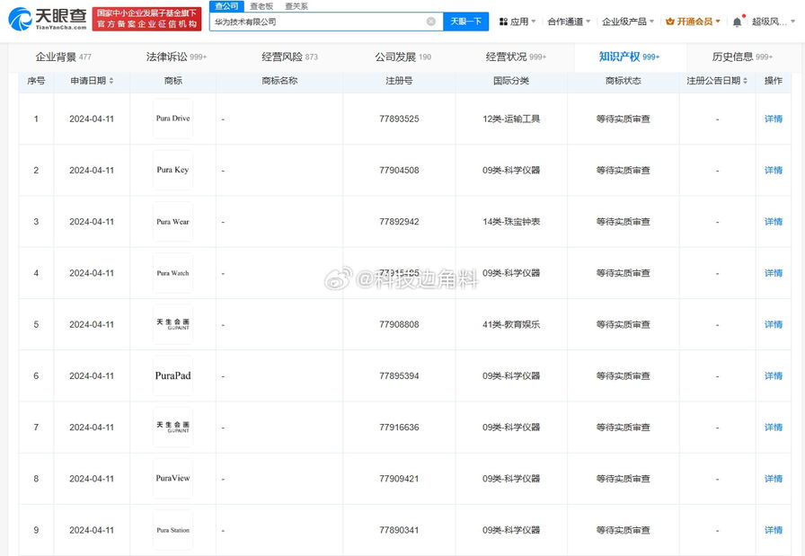
Il colosso tecnologico cinese Huawei sembra essere in procinto di lanciare una nuova linea di prodotti sotto il marchio “Pura”. Diverse fonti riportano che l'azienda ha registrato una serie di marchi relativi a Pura, tra cui “PuraPad,” “Pura Drive,” “Pura Key,” “Pura Watch,” “PuraView,” “Pura Ultra,” e “Pura Wear”.

La classificazione internazionale dei suddetti marchi spazia dagli strumenti di trasporto agli strumenti scientifici, dai gioielli agli orologi. Questo indica l’intenzione di Huawei di espandere il brand Pura ben oltre il mercato degli smartphone, puntando a creare un ecosistema di prodotti completo e variegato sotto una stessa linea.

Particolarmente interessante è la registrazione del marchio “PuraOS”, suggerendo che Huawei potrebbe essere al lavoro su un sistema operativo dedicato alla linea Pura, forse basato su una revisione di HarmonyOS, per differenziarlo dagli altri modelli.

Immagine id 20838

Il passaggio dalla serie P alla serie Pura rappresenta una svolta significativa per la linea di smartphone di punta dell'azienda. La serie Pura è stata ufficialmente introdotta il 15 aprile 2024, debuttando con il modello di punta Huawei Pura 70 Ultra. Ciò segna la fine della dodicenne serie P e l'inizio di una nuova era per i dispositivi flagship di Huawei.

Un rapporto recente ha rivelato che oltre il 90% dei componenti chiave della serie Pura 70, ad eccezione del modello Pura 70 Ultra, provengono da marchi cinesi, indicando significativi progressi verso la realizzazione di una produzione completamente domestica. Questo aspetto sottolinea l'avanzamento tecnologico e l'autosufficienza crescente dell'industria degli smartphone cinese.

Il lancio della serie Pura 70 inizialmente in Cina e successivamente a livello globale (ad esclusione del modello Pura 70 Pro+) mette in evidenza il posizionamento strategico di Huawei nel mercato e suggerisce piani futuri di espansione dell'ecosistema Pura in una gamma ancora più ampia di prodotti.

Siamo di fronte alla rinascita del marchio con un ritorno in grande stile sui mercati internazionali?

Fonte dell'articolo: news.mydrivers.com

Leggi altri articoli

👋 Partecipa alla discussione! Scopri le ultime novità che abbiamo riservato per te!

0 Commenti

⚠️ Stai commentando come Ospite . Vuoi accedere?

Invia

Per commentare come utente ospite, clicca triangoli

Cliccati: 0 /

Reset

Questa funzionalità è attualmente in beta, se trovi qualche errore segnalacelo.

Segui questa discussione
Advertisement

Non perdere gli ultimi aggiornamenti

Newsletter Telegram

I più letti di oggi


  • #1
    Tornano le ricariche gratis per chi compra Tesla
  • #2
    Luminosità e contrasto: la "terza via" per un televisore ideale
  • #3
    Huawei lancia nuovi PC con CPU e OS cinesi proprietari
  • #4
    Scoperto il trucco mentale per recuperare i ricordi
  • #5
    ASUS ROG NUC 2025, potenza desktop in formato mini | Test & Recensione
  • #6
    Fusa la prima rete quantistica a 18 nodi: svolta dalla Cina
Articolo 1 di 5
Huawei MatePad 12X Papermatte Edition è un tablet incredibile | Recensione
In un’epoca in cui tutti i tablet sembrano voler imitare Apple, Huawei sceglie una strada diversa: quella della concretezza.
Immagine di Huawei MatePad 12X Papermatte Edition è un tablet incredibile | Recensione
17
Leggi questo articolo
Articolo 2 di 5
Black Friday 2025: tutte le offerte Honor da non perdere
Scopri tutte le offerte Honor del Black Friday 2025 su smartphone, tablet e PC, con sconti e bundle esclusivi.
Immagine di Black Friday 2025: tutte le offerte Honor da non perdere
Leggi questo articolo
Articolo 3 di 5
Motorola stupisce tutti con l'Edge 70, il primo vero flagship ultrasottile
Nella splendida cornice dello Spazio Lenovo di Milano, Motorola ci ha mostrato la sua nuova generazione di prodotti votati a stupire.
Immagine di Motorola stupisce tutti con l'Edge 70, il primo vero flagship ultrasottile
Leggi questo articolo
Articolo 4 di 5
Redmi Pad 2 a soli 109€! Imperdibile, e sì, è la versione Global
Offerta Xiaomi Redmi Pad 2: display 11" 2.5K a soli 114,03€ con coupon (-70%)
Immagine di Redmi Pad 2 a soli 109€! Imperdibile, e sì, è la versione Global
Leggi questo articolo
Articolo 5 di 5
Osmo Mobile 8 si rinnova con tante novità: disponibile a 159€
Rotazione a 360°, tracciamento di persone e animali e non solo: DJI Osmo Mobile 8 trasforma lo smartphone in una camera professionale.
Immagine di Osmo Mobile 8 si rinnova con tante novità: disponibile a 159€
Leggi questo articolo
Advertisement
Advertisement

Advertisement

Footer
Tom's Hardware Logo

 
Contatti
  • Contattaci
  • Feed RSS
Legale
  • Chi siamo
  • Privacy
  • Cookie
  • Affiliazione Commerciale
Altri link
  • Forum
Il Network 3Labs Network Logo
  • Tom's Hardware
  • SpazioGames
  • CulturaPop
  • Data4Biz
  • TechRadar
  • SosHomeGarden
  • Aibay

Tom's Hardware - Testata giornalistica associata all'USPI Unione Stampa Periodica Italiana, registrata presso il Tribunale di Milano, nr. 285 del 9/9/2013 - Direttore: Andrea Ferrario

3LABS S.R.L. • Via Pietro Paleocapa 1 - Milano (MI) 20121
CF/P.IVA: 04146420965 - REA: MI - 1729249 - Capitale Sociale: 10.000 euro

© 2025 3Labs Srl. Tutti i diritti riservati.