image/svg+xml
Logo Tom's Hardware
  • Hardware
  • Videogiochi
  • Mobile
  • Elettronica
  • EV
  • Scienze
  • B2B
  • Quiz
  • Tom's Hardware Logo
  • Hardware
  • Videogiochi
  • Mobile
  • Elettronica
  • EV
  • Scienze
  • B2B
  • Quiz
  • Forum
  • Editor's Choice
  • Sconti & Coupon
Offerte & Coupon
Accedi a Xenforo
Immagine di L'Intel Core Ultra 5 250K Plus batte il 245K del 16% L'Intel Core Ultra 5 250K Plus batte il 245K del 16%...
Immagine di Windows 11, 9 novità nell'update di marzo 2026 Windows 11, 9 novità nell'update di marzo 2026...

Apple lavora a un Mac "clone" di Surface Studio? Spunta un brevetto

Un recente brevetto di Apple per un iMac con display orientabile alimenta le speculazioni su un possibile supporto touch, ma la conferma rimane incerta.

Advertisement

Avatar di Giulia Di Venere

a cura di Giulia Di Venere

Editor @Tom's Hardware Italia

Pubblicato il 14/03/2024 alle 10:55
Quando acquisti tramite i link sul nostro sito, potremmo guadagnare una commissione di affiliazione. Scopri di più

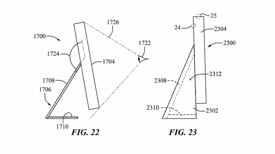
Apple ha recentemente depositato un brevetto che ha scatenato un dibattito sulla possibilità di un futuro iMac con supporto touch. Pubblicato il 7 marzo 2024, il brevetto presenta un computer dotato di un display che può essere orientato in diverse posizioni e angolazioni, alludendo ad alcune similitudini con il Microsoft Surface Studio.

Le immagini incluse nel brevetto mostrano varie configurazioni di questo display orientabile, che potrebbero risultare particolarmente utili per artisti e creativi. Tuttavia, sebbene il brevetto rappresenti un'idea interessante, non fa menzione esplicita del supporto touch. 

Apple

Il brevetto di Apple fa parte di una serie di applicazioni precedenti che risalgono al 2010. Tuttavia, come spesso accade con i brevetti tecnologici, non esiste alcuna garanzia che i concept presentati diventeranno realtà in prodotti commerciali.

Sebbene la possibilità di un iMac con supporto touch sia indubbiamente affascinante, è improbabile che Apple adotti tale soluzione nel breve termine. Le specifiche del brevetto non menzionano questa funzionalità, e i prodotti Apple già in commercio suggeriscono una certa riluttanza nell'integrare tale funzionalità nei sistemi desktop del brand. Inoltre, anche se il design del nuovo iMac forse somiglierà al Surface Studio, potrebbe differire significativamente nelle funzionalità e nell'esperienza utente.

Fonte dell'articolo: www.windowscentral.com

Le notizie più lette

#1
CyberGhost VPN - Recensione
4

Hardware

CyberGhost VPN - Recensione

#2
Windows 11, 9 novità nell'update di marzo 2026
2

Hardware

Windows 11, 9 novità nell'update di marzo 2026

#3
Project Helix vs Steam Machine sarà la "console war" del futuro

Editoriale

Project Helix vs Steam Machine sarà la "console war" del futuro

#4
Hanno bucato la mia azienda, ora che faccio?
1

Business

Hanno bucato la mia azienda, ora che faccio?

#5
Diablo 4: Blizzard cambia il levelling per Vessel of Hatred

Videogioco

Diablo 4: Blizzard cambia il levelling per Vessel of Hatred

👋 Partecipa alla discussione!

0 Commenti

⚠️ Stai commentando come Ospite . Vuoi accedere?

Invia

Per commentare come utente ospite, clicca quadrati

Cliccati: 0 /

Reset

Questa funzionalità è attualmente in beta, se trovi qualche errore segnalacelo.

Segui questa discussione

Advertisement

Ti potrebbe interessare anche

Windows 11, 9 novità nell'update di marzo 2026
2

Hardware

Windows 11, 9 novità nell'update di marzo 2026

Di Antonello Buzzi
L'Intel Core Ultra 5 250K Plus batte il 245K del 16%

Hardware

L'Intel Core Ultra 5 250K Plus batte il 245K del 16%

Di Antonello Buzzi
4 notebook eccellenti che costano meno del MacBook Neo
1

Hardware

4 notebook eccellenti che costano meno del MacBook Neo

Di Dario De Vita
Il ripetitore Wi-Fi che fa anche da presa: velocità e comodità in un colpo

Offerte e Sconti

Il ripetitore Wi-Fi che fa anche da presa: velocità e comodità in un colpo

Di Dario De Vita
MacBook Neo batte M1 nei primi benchmark single-core
2

Hardware

MacBook Neo batte M1 nei primi benchmark single-core

Di Andrea Maiellano

Advertisement

Advertisement

Footer
Tom's Hardware Logo

 
Contatti
  • Contattaci
  • Feed RSS
Legale
  • Chi siamo
  • Privacy
  • Cookie
  • Affiliazione Commerciale
Altri link
  • Forum
Il Network 3Labs Network Logo
  • Tom's Hardware
  • SpazioGames
  • CulturaPop
  • Data4Biz
  • SosHomeGarden
  • Aibay
  • Coinlabs

Tom's Hardware - Testata giornalistica associata all'USPI Unione Stampa Periodica Italiana, registrata presso il Tribunale di Milano, nr. 285 del 9/9/2013 - Direttore: Andrea Ferrario

3LABS S.R.L. • Via Pietro Paleocapa 1 - Milano (MI) 20121
CF/P.IVA: 04146420965 - REA: MI - 1729249 - Capitale Sociale: 10.000 euro

© 2026 3Labs Srl. Tutti i diritti riservati.